|
Привод управления подачей топлива
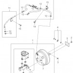
Главный цилиндр гидропривода сцепления, MT
Усилитель тормозов
|
|
|
|
Привод управления подачей топлива (02/02)
Вилка выключения сцепления, MT (01/02)
Вилка выключения сцепления, MT (02/02)
Главный цилиндр гидропривода сцепления, MT
Главный тормозной цилиндр
Привод управления подачей топлива (01/02)
|
- ACCENT 00 (TURKEY) (1999-)
|
|
|
Главный цилиндр гидропривода сцепления (01/02)
Главный цилиндр гидропривода сцепления (02/02)
BRAKE MASTER CYLINDER & VACUUM HOSE (01/02)
BRAKE MASTER CYLINDER & VACUUM HOSE (02/02)
|
- ACCENT 06 (TURKEY PLANT-EUR): JAN.2007- (2006-)
|
|
|
Главный цилиндр гидропривода сцепления, MT
BRAKE MASTER CYLINDER & VACUUM HOSE (01/02)
BRAKE MASTER CYLINDER & VACUUM HOSE (02/02)
|
- ACCENT 06 (TURKEY PLANT-TURKEY): -DEC.2006 (2006-)
|
|
|
Главный цилиндр гидропривода сцепления (01/02)
Главный цилиндр гидропривода сцепления (02/02)
BRAKE MASTER CYLINDER & VACUUM HOSE (01/02)
BRAKE MASTER CYLINDER & VACUUM HOSE (02/02)
|
- ACCENT 06 (TURKEY PLANT-TURKEY): JAN.2007- (2006-)
|
|
|
Главный цилиндр гидропривода сцепления, MT
BRAKE MASTER CYLINDER & VACUUM HOSE (01/02)
BRAKE MASTER CYLINDER & VACUUM HOSE (02/02)
|
- ACCENT 06(TURKEY PLANT-EUR): -DEC.2006 (2006-)
|
|
|
Главный цилиндр гидропривода сцепления, MT
Рабочий цилиндр гидропривода сцепления, MT
Усилитель тормозов
|
- ACCENT/PONY 95 (1995-1999)
|
|
|
Привод управления подачей топлива (01/02)
Привод управления подачей топлива (02/02)
Главный цилиндр гидропривода сцепления, MT
Рабочий цилиндр гидропривода сцепления, MT
Усилитель тормозов
|
|
|
|
Главный цилиндр гидропривода сцепления, MT (01/02)
Главный цилиндр гидропривода сцепления, MT (02/02)
BRAKE MASTER CYLINDER & BOOSTER (01/02)
BRAKE MASTER CYLINDER & BOOSTER (02/02)
|
- ACCENT/VERNA 06: -SEP.2006 (2006-)
|
|
|
Главный цилиндр гидропривода сцепления (01/02)
Главный цилиндр гидропривода сцепления (02/02)
BRAKE MASTER CYLINDER & BOOSTER (01/02)
BRAKE MASTER CYLINDER & BOOSTER (02/02)
|
- ACCENT/VERNA 06: SEP.2006- (2006-)
|
|
|
Усилитель тормозов
|
|
|
|
Усилитель тормозов
|
|
|
|
Усилитель тормозов
|
- ATOS PRIME 01 (2001-2003)
|
|
|
Главный тормозной цилиндр
|
- ATOS PRIME 06(MEXICO): -DEC.2006 (2006-)
|
|
|
Главный тормозной цилиндр
|
- ATOS PRIME 06: -DEC.2006 (2006-)
|
|
|
Главный тормозной цилиндр
|
- ATOS PRIME 06: JAN.2007- (2006-)
|
|
|
Усилитель тормозов
|
- ATOS PRIME 99 (1999-2000)
|
|
|
BRAKE MASTER CYLINDER & BOOSTER
|
|
|
|
BRAKE MASTER CYLINDER & BOOSTER
|
|
|
|
Управление сцеплением и тормозами (01/04)
Управление сцеплением и тормозами (02/04)
Управление сцеплением и тормозами (03/04)
Управление сцеплением и тормозами (04/04)
Главный цилиндр гидропривода сцепления, MT
(Двигатель: MPI-DOHC)
Главный цилиндр гидропривода сцепления, MT (01/02)
(Двигатель: T/C INTER COOLER)
Главный цилиндр гидропривода сцепления, MT (02/02)
(Двигатель: T/C INTER COOLER)
Привод переключения передач, MT
BRAKE MASTER CYLINDER & VACUUM HOSE (01/03)
BRAKE MASTER CYLINDER & VACUUM HOSE (02/03)
BRAKE MASTER CYLINDER & VACUUM HOSE (03/03)
BRAKE MASTER CYLINDER & VACUUM HOSE (01/03)
BRAKE MASTER CYLINDER & VACUUM HOSE (02/03)
BRAKE MASTER CYLINDER & VACUUM HOSE (03/03)
|
|
|
|
SHIFT LEVER CONTROL (MANUAL TRANSAXLE)
BRAKE MASTER CYLINDER & VACUUM HOSE (01/06)
BRAKE MASTER CYLINDER & VACUUM HOSE (02/06)
BRAKE MASTER CYLINDER & VACUUM HOSE (03/06)
BRAKE MASTER CYLINDER & VACUUM HOSE (04/06)
BRAKE MASTER CYLINDER & VACUUM HOSE (05/06)
BRAKE MASTER CYLINDER & VACUUM HOSE (06/06)
ENGINE CONTROL SYSTEM (01/06)
ENGINE CONTROL SYSTEM (02/06)
ENGINE CONTROL SYSTEM (03/06)
ENGINE CONTROL SYSTEM (04/06)
ENGINE CONTROL SYSTEM (05/06)
ENGINE CONTROL SYSTEM (06/06)
CLUTCH & RELEASE FORK - MANUAL
(Рабочий объем двигателя: 2000 CC - D)(АКП: MANUAL T/M - 5 SPEED 2WD)
CLUTCH & RELEASE FORK - MANUAL
(Рабочий объем двигателя: 2000 CC - THETA)(АКП: MANUAL T/M - 5 SPEED 2WD)
Главный цилиндр гидропривода сцепления
|
|
|
|
педаль тормоза и сцепления (01/02)
педаль тормоза и сцепления (02/02)
BRAKE MASTER CYLINDER & BOOSTER (01/02)
BRAKE MASTER CYLINDER & BOOSTER (02/02)
|
|
|
|
Рабочий цилиндр гидропривода сцепления
(Рабочий объем двигателя: 2000 CC)(Двигатель: T/C INTER COOLER)(Трансмиссия: 5 SPEED MT 2WD)
Рабочий цилиндр гидропривода сцепления
(Рабочий объем двигателя: 2000 CC)(Двигатель: MPI-DOHC)(Трансмиссия: 5 SPEED MT 2WD)
|
|
|
|
Главный цилиндр гидропривода сцепления, MT (01/02)
Главный цилиндр гидропривода сцепления, MT (02/02)
BRAKE MASTER CYLINDER & VACUUM HOSE
|
- CARNIVAL/SEDONA 05: -OCT.2006
|
|
|
Главный цилиндр гидропривода сцепления (01/02)
Главный цилиндр гидропривода сцепления (02/02)
BRAKE MASTER CYLINDER & VACUUM HOSE (01/03)
BRAKE MASTER CYLINDER & VACUUM HOSE (02/03)
BRAKE MASTER CYLINDER & VACUUM HOSE (03/03)
|
- CARNIVAL/SEDONA 05: NOV.2006-
|
|
|
ENGINE CONTROL SYSTEM (01/05)
ENGINE CONTROL SYSTEM (02/05)
ENGINE CONTROL SYSTEM (03/05)
ENGINE CONTROL SYSTEM (04/05)
ENGINE CONTROL SYSTEM (05/05)
Главный тормозной цилиндр (01/02)
Главный тормозной цилиндр (02/02)
|
|
|
|
стартер (03/03)
(Рабочий объем двигателя: 1600 CC - U2)
Главный тормозной цилиндр
ENGINE CONTROL SYSTEM (01/05)
ENGINE CONTROL SYSTEM (02/05)
ENGINE CONTROL SYSTEM (03/05)
ENGINE CONTROL SYSTEM (04/05)
ENGINE CONTROL SYSTEM (05/05)
Аккумуляторная батарея
свечи и кабель
(Рабочий объем двигателя: 1400 CC - GAMMA)
свечи и кабель
(Рабочий объем двигателя: 2000 CC - BETA)
стартер (01/02)
(Рабочий объем двигателя: 1400 CC - GAMMA)
стартер (02/02)
(Рабочий объем двигателя: 1400 CC - GAMMA)
стартер (01/03)
(Рабочий объем двигателя: 1600 CC - U2)
стартер (02/03)
(Рабочий объем двигателя: 1600 CC - U2)
|
|
|
|
педаль тормоза и сцепления (01/03)
педаль тормоза и сцепления (02/03)
педаль тормоза и сцепления (03/03)
|
|
|
|
BRAKE MASTER CYLINDER & BOOSTER
|
|
|
|
BRAKE MASTER CYLINDER & BOOSTER
|
- CENTENNIAL/EQUUS 08 (2008-)
|
|
|
BRAKE MASTER CYLINDER & BOOSTER
|
- CENTENNIAL/EQUUS 13 (2013-)
|
|
|
Вилка выключения сцепления
(Двигатель: MPI-DOHC)(Трансмиссия: 5 SPEED MT 2WD)
Вилка выключения сцепления
(Рабочий объем двигателя: 2000 CC)(Двигатель: T/C INTER COOLER)(Трансмиссия: 5 SPEED MT 2WD)
Главный цилиндр гидропривода сцепления (01/02)
(Трансмиссия: 5 SPEED MT 2WD)
Главный цилиндр гидропривода сцепления (02/02)
(Трансмиссия: 5 SPEED MT 2WD)
Главный цилиндр гидропривода сцепления (01/02)
(Двигатель: TCI DOHC)(Трансмиссия: 5 SPEED MT 2WD)
Главный цилиндр гидропривода сцепления (02/02)
(Двигатель: TCI DOHC)(Трансмиссия: 5 SPEED MT 2WD)
Усилитель тормозов
|
|
|
|
CLUTCH & RELEASE FORK - MANUAL
(Рабочий объем двигателя: 2000 CC - BETA)
Главный цилиндр гидропривода сцепления (01/03)
Главный цилиндр гидропривода сцепления (02/03)
Главный цилиндр гидропривода сцепления (03/03)
BRAKE MASTER CYLINDER & BOOSTER (01/02)
BRAKE MASTER CYLINDER & BOOSTER (02/02)
|
|
|
|
педаль тормоза и сцепления (01/02)
педаль тормоза и сцепления (02/02)
|
|
|
|
ENGINE CONTROL SYSTEM (01/03)
ENGINE CONTROL SYSTEM (02/03)
ENGINE CONTROL SYSTEM (03/03)
|
- CERATO/FORTE/CERATO KOUP/FORTE KOUP 08 (2008-)
|
|
|
Вилка выключения сцепления, 5MT
Главный цилиндр гидропривода сцепления, MT
рычаг мкп, 6MT
Усилитель тормозов
|
- COUPE 01: -SEP.2006 (2001-)
|
|
|
CLUTCH & RELEASE FORK - MANUAL
(АКП: MANUAL T/M - 5 SPEED 2WD)
Главный цилиндр гидропривода сцепления
GEAR SHIFT CONTROL - MANUAL
(АКП: MANUAL T/M - 6 SPEED 2WD)
Усилитель тормозов
|
- COUPE 07: SEP.2006- (2007-)
|
|
|
Главный цилиндр гидропривода сцепления, MT
Рабочий цилиндр гидропривода сцепления, MT
Усилитель тормозов
|
|
|
|
педаль тормоза и сцепления
BRAKE MASTER CYLINDER & BOOSTER (01/03)
BRAKE MASTER CYLINDER & BOOSTER (02/03)
BRAKE MASTER CYLINDER & BOOSTER (03/03)
|
- ELANTRA 06: -OCT.2006 (2006-)
|
|
|
Главный цилиндр гидропривода сцепления
BRAKE MASTER CYLINDER & BOOSTER (01/03)
BRAKE MASTER CYLINDER & BOOSTER (02/03)
BRAKE MASTER CYLINDER & BOOSTER (03/03)
|
- ELANTRA 06: NOV.2006- (2006-)
|
|
|
педаль тормоза и сцепления (01/02)
педаль тормоза и сцепления (02/02)
|
|
|
|
педаль тормоза и сцепления (01/02)
педаль тормоза и сцепления (02/02)
|
|
|
|
педаль тормоза и сцепления (01/02)
педаль тормоза и сцепления (02/02)
|
- ELANTRA 14 (ALABAMA PLANT-EUR) (2014-)
|
|
|
Вилка выключения сцепления, MT
Главный цилиндр гидропривода сцепления, MT
Усилитель тормозов
|
- ELANTRA/LANTRA 00 (2000-)
|
|
|
Главный цилиндр гидропривода сцепления, MT
Рабочий цилиндр гидропривода сцепления, MT
Усилитель тормозов
|
- ELANTRA/LANTRA 96 (1996-2000)
|
|
|
Главный цилиндр гидропривода сцепления, MT
|
- EXCEL/PONY 89 (1989-1994)
|
|
|
Главный цилиндр гидропривода сцепления
|
- GALLOPER II/INNOVATION 00 (2000-2003)
|
|
|
BRAKE MASTER CYLINDER & BOOSTER
|
|
|
|
ENGINE CONTROL SYSTEM (01/02)
ENGINE CONTROL SYSTEM (02/02)
Главный тормозной цилиндр
|
|
|
|
Главный тормозной цилиндр (01/02)
Главный тормозной цилиндр (02/02)
ENGINE CONTROL SYSTEM (01/02)
ENGINE CONTROL SYSTEM (02/02)
|
|
|
|
Вилка выключения сцепления, MT (01/03)
Вилка выключения сцепления, MT (02/03)
Вилка выключения сцепления, MT (03/03)
Главный цилиндр гидропривода сцепления, MT
Главный тормозной цилиндр
|
- GETZ 02: -OCT.2006 (2002-)
|
|
|
CLUTCH & RELEASE FORK - MANUAL (01/02)
(Рабочий объем двигателя: 1400 CC - ALPHA DOHC)
CLUTCH & RELEASE FORK - MANUAL (02/02)
(Рабочий объем двигателя: 1400 CC - ALPHA DOHC)
CLUTCH & RELEASE FORK - MANUAL (01/02)
(Рабочий объем двигателя: 1600 CC - ALPHA DOHC)
CLUTCH & RELEASE FORK - MANUAL (02/02)
(Рабочий объем двигателя: 1600 CC - ALPHA DOHC)
CLUTCH & RELEASE FORK - MANUAL (01/02)
(Рабочий объем двигателя: 1100 CC - EPSILON)
CLUTCH & RELEASE FORK - MANUAL (02/02)
(Рабочий объем двигателя: 1100 CC - EPSILON)
Главный цилиндр гидропривода сцепления
Главный тормозной цилиндр
|
- GETZ 06: NOV.2006- (2006-)
|
|
|
CLUTCH & RELEASE FORK - MANUAL (01/02)
CLUTCH & RELEASE FORK - MANUAL (02/02)
Главный цилиндр гидропривода сцепления
Главный тормозной цилиндр
|
- GETZ 07 (INDIA PLANT-EUR) (2007-)
|
|
|
BRAKE MASTER CYLINDER & BOOSTER
|
|
|
|
BRAKE MASTER CYLINDER & BOOSTER (01/02)
BRAKE MASTER CYLINDER & BOOSTER (02/02)
|
- GRANDEUR 05: -OCT.2006 (2005-)
|
|
|
BRAKE MASTER CYLINDER & BOOSTER (01/02)
BRAKE MASTER CYLINDER & BOOSTER (02/02)
|
- GRANDEUR 05: NOV.2006- (2005-)
|
|
|
Вилка выключения сцепления, MT
Главный цилиндр гидропривода сцепления, MT
Усилитель тормозов
|
|
|
|
педаль и тросик акселератора (01/02)
педаль и тросик акселератора (02/02)
Педаль сцепления и тормоза
Главный цилиндр гидропривода сцепления
усилитель тормозов
|
- H-1 02 (TURKEY PLANT-EUR): -DEC.2006 (2002-)
|
|
|
ENGINE CONTROL SYSTEM (01/02)
ENGINE CONTROL SYSTEM (02/02)
Главный цилиндр гидропривода сцепления (01/02)
Главный цилиндр гидропривода сцепления (02/02)
усилитель тормозов
|
- H-1 02 (TURKEY PLANT-EUR): JAN.2007- (2002-)
|
|
|
педаль и тросик акселератора (01/02)
педаль и тросик акселератора (02/02)
Педаль сцепления и тормоза
Главный цилиндр гидропривода сцепления
усилитель тормозов
|
- H-1 02 (TURKEY PLANT-TURKEY): -DEC.2006 (2002-)
|
|
|
ENGINE CONTROL SYSTEM (01/02)
ENGINE CONTROL SYSTEM (02/02)
Главный цилиндр гидропривода сцепления (01/02)
Главный цилиндр гидропривода сцепления (02/02)
усилитель тормозов
|
- H-1 02 (TURKEY PLANT-TURKEY): JAN.2007- (2002-)
|
|
|
Педаль сцепления и тормоза
Главный цилиндр гидропривода сцепления
усилитель тормозов
ACCELERATOR PEDAL (01/02)
ACCELERATOR PEDAL (02/02)
|
- H-1 02: -SEP.2006 (2001-)
|
|
|
ENGINE CONTROL SYSTEM (01/03)
ENGINE CONTROL SYSTEM (02/03)
ENGINE CONTROL SYSTEM (03/03)
Главный цилиндр гидропривода сцепления
Главный тормозной цилиндр
|
- H-1 04: SEP.2006- (2004-)
|
|
|
Главный цилиндр гидропривода сцепления (01/02)
Главный цилиндр гидропривода сцепления (02/02)
Главный тормозной цилиндр (01/02)
Главный тормозной цилиндр (02/02)
|
|
|
|
Главный тормозной цилиндр (02/02)
Главный цилиндр гидропривода сцепления
Главный тормозной цилиндр (01/02)
|
|
|
|
Главный цилиндр гидропривода сцепления
|
|
|
|
Главный цилиндр гидропривода сцепления (01/02)
Главный цилиндр гидропривода сцепления (02/02)
Главный тормозной цилиндр (01/02)
Главный тормозной цилиндр (02/02)
|
- i10 07 (INDIA PLANT-EUR) (2007-)
|
|
|
Главный тормозной цилиндр (01/02)
Главный тормозной цилиндр (02/02)
|
- i10 11 (INDIA PLANT-EUR) (2011-)
|
|
|
Главный цилиндр гидропривода сцепления (01/02)
Главный цилиндр гидропривода сцепления (02/02)
|
- i20 08 (INDIA PLANT-EUR) (2008-)
|
|
|
Главный цилиндр гидропривода сцепления
|
- i20 10 (TURKEY PLANT-EUR) (2010-)
|
|
|
Главный цилиндр гидропривода сцепления
|
- i20 12 (INDIA PLANT-EUR) (2012-2014)
|
|
|
Главный цилиндр гидропривода сцепления
|
- i20 12 (TURKEY PLANT-EUR) (2012-2014)
|
|
|
Главный цилиндр гидропривода сцепления
|
- i20 12 (TURKEY PLANT-TURKEY) (2012-2014)
|
|
|
педаль тормоза и сцепления (01/03)
педаль тормоза и сцепления (02/03)
педаль тормоза и сцепления (03/03)
|
- i30 12 (CZECH PLANT-EUR) (2012-2015)
|
|
|
педаль тормоза и сцепления (01/02)
педаль тормоза и сцепления (02/02)
|
- i30 16 (CZECH PLANT-RUS) (2015-)
|
|
|
педаль тормоза и сцепления (01/03)
педаль тормоза и сцепления (02/03)
педаль тормоза и сцепления (03/03)
|
- i30 16(CZECH PLANT-EUR) (2015-)
|
|
|
ENGINE CONTROL SYSTEM (01/05)
ENGINE CONTROL SYSTEM (02/05)
ENGINE CONTROL SYSTEM (03/05)
ENGINE CONTROL SYSTEM (04/05)
ENGINE CONTROL SYSTEM (05/05)
BRAKE MASTER CYLINDER & BOOSTER
|
|
|
|
ENGINE CONTROL SYSTEM (01/05)
ENGINE CONTROL SYSTEM (02/05)
ENGINE CONTROL SYSTEM (03/05)
ENGINE CONTROL SYSTEM (04/05)
ENGINE CONTROL SYSTEM (05/05)
BRAKE MASTER CYLINDER & VACUUM HOSE
|
- i30/i30CW 09 (CZECH PLANT-EUR) (2009-)
|
|
|
педаль тормоза и сцепления (01/02)
педаль тормоза и сцепления (02/02)
BRAKE MASTER CYLINDER & BOOSTER (01/02)
BRAKE MASTER CYLINDER & BOOSTER (02/02)
|
|
|
|
педаль тормоза и сцепления (01/02)
педаль тормоза и сцепления (02/02)
|
|
|
|
педаль тормоза и сцепления (01/04)
педаль тормоза и сцепления (02/04)
педаль тормоза и сцепления (03/04)
педаль тормоза и сцепления (04/04)
CLUTCH & RELEASE FORK - MANUAL
(АКП: MANUAL T/M - 5 SPEED 2WD)
CLUTCH & RELEASE FORK - MANUAL
(АКП: MANUAL T/M - 5 SPEED 4WD)
BRAKE MASTER CYLINDER & BOOSTER (01/02)
BRAKE MASTER CYLINDER & BOOSTER (02/02)
|
- IX35/TUCSON 10 (2009-2013)
|
|
|
педаль тормоза и сцепления (01/04)
педаль тормоза и сцепления (02/04)
педаль тормоза и сцепления (03/04)
педаль тормоза и сцепления (04/04)
CLUTCH & RELEASE FORK - MANUAL
(Рабочий объем двигателя: 2000 CC - THETA 2)
BRAKE MASTER CYLINDER & BOOSTER (01/02)
BRAKE MASTER CYLINDER & BOOSTER (02/02)
|
- IX35/TUCSON 10 (SLOVAKIA PLANT-EUR) (2010-)
|
|
|
педаль тормоза и сцепления (01/04)
педаль тормоза и сцепления (02/04)
педаль тормоза и сцепления (03/04)
педаль тормоза и сцепления (04/04)
CLUTCH & RELEASE FORK - MANUAL
(Рабочий объем двигателя: 2000 CC - THETA 2)
BRAKE MASTER CYLINDER & BOOSTER (01/02)
BRAKE MASTER CYLINDER & BOOSTER (02/02)
|
- IX35/TUCSON 11 (CZECH PLANT-EUR) (2011-2013)
|
|
|
педаль тормоза и сцепления (01/02)
педаль тормоза и сцепления (02/02)
BRAKE MASTER CYLINDER & BOOSTER (01/02)
BRAKE MASTER CYLINDER & BOOSTER (02/02)
|
|
|
|
педаль тормоза и сцепления (01/02)
педаль тормоза и сцепления (02/02)
|
- IX35/TUCSON 14 (CZECH PLANT-EUR) (2013-)
|
|
|
Главный тормозной цилиндр
|
|
|
|
Главный тормозной цилиндр
|
|
|
|
педаль тормоза и сцепления (01/02)
педаль тормоза и сцепления (02/02)
|
|
|
|
Вилка выключения сцепления, M5BF2
Главный цилиндр гидропривода сцепления
Усилитель тормозов
|
- MATRIX 01: -OCT.2006 (2001-)
|
|
|
Усилитель тормозов
CLUTCH & RELEASE FORK - MANUAL
(Рабочий объем двигателя: 1600 CC - ALPHA DOHC)
CLUTCH & RELEASE FORK - MANUAL
(Рабочий объем двигателя: 1800 CC - BETA)
Главный цилиндр гидропривода сцепления
|
- MATRIX 01: NOV.2006- (2006-)
|
|
|
CLUTCH & RELEASE FORK - MANUAL
(Рабочий объем двигателя: 1600 CC - ALPHA DOHC)
CLUTCH & RELEASE FORK - MANUAL
Усилитель тормозов
|
- MATRIX 08 (TURKEY PLANT-TURKEY) (2008-)
|
|
|
CLUTCH & RELEASE FORK - MANUAL
(Рабочий объем двигателя: 1600 CC - ALPHA DOHC)
CLUTCH & RELEASE FORK - MANUAL
Усилитель тормозов
|
- MATRIX 09 (TURKEY PLANT-TURKEY) (2008-)
|
|
|
CLUTCH & RELEASE FORK - MANUAL
(Рабочий объем двигателя: 1600 CC - ALPHA DOHC)
CLUTCH & RELEASE FORK - MANUAL
(Рабочий объем двигателя: 1800 CC - BETA)
Главный цилиндр гидропривода сцепления
Усилитель тормозов
|
- MATRIX/LAVITA 08 (TURKEY PLANT-EUR) (2008-)
|
|
|
CLUTCH & RELEASE FORK - MANUAL
(Рабочий объем двигателя: 1600 CC - ALPHA DOHC)
CLUTCH & RELEASE FORK - MANUAL
(Рабочий объем двигателя: 1800 CC - BETA)
Главный цилиндр гидропривода сцепления (01/02)
Главный цилиндр гидропривода сцепления (02/02)
Усилитель тормозов
|
- MATRIX/LAVITA 09 (TURKEY PLANT-EUR) (2008-)
|
|
|
Усилитель тормозов
|
|
|
|
BRAKE MASTER CYLINDER & BOOSTER
|
- OPIRUS 06: NOV.2006- (2006-)
|
|
|
BRAKE MASTER CYLINDER & BOOSTER
|
- OPIRUS FL - EH (GH) (2006-)
|
|
|
педаль тормоза и сцепления (01/03)
педаль тормоза и сцепления (02/03)
педаль тормоза и сцепления (03/03)
BRAKE MASTER CYLINDER & BOOSTER (01/02)
BRAKE MASTER CYLINDER & BOOSTER (02/02)
|
|
|
|
педаль тормоза и сцепления (01/03)
педаль тормоза и сцепления (02/03)
педаль тормоза и сцепления (03/03)
BRAKE MASTER CYLINDER & BOOSTER (01/02)
BRAKE MASTER CYLINDER & BOOSTER (02/02)
|
|
|
|
Главный цилиндр гидропривода сцепления (01/02)
Главный цилиндр гидропривода сцепления (02/02)
Рабочий цилиндр гидропривода сцепления
(Трансмиссия: 5 SPEED MT 2WD)
Усилитель тормозов (01/02)
Усилитель тормозов (02/02)
|
- OPTIMA/MAGENTIS 00 (2000-2005)
|
|
|
Управление сцеплением и тормозами (01/02)
Управление сцеплением и тормозами (02/02)
Рабочий цилиндр гидропривода сцепления, MT
(Рабочий объем двигателя: 2000 CC)
BRAKE MASTER CYLINDER & VACUUM HOSE (01/03)
([5851] усилитель тормозов)([5891] ABS)
BRAKE MASTER CYLINDER & VACUUM HOSE (02/03)
([5851] усилитель тормозов)([5891] ABS)
BRAKE MASTER CYLINDER & VACUUM HOSE (03/03)
([5851] усилитель тормозов)([5891] ABS)
BRAKE MASTER CYLINDER & VACUUM HOSE (01/03)
([5851] усилитель тормозов)([5896] ESP(ELECTRONIC STABILITY PRM))
BRAKE MASTER CYLINDER & VACUUM HOSE (02/03)
([5851] усилитель тормозов)([5896] ESP(ELECTRONIC STABILITY PRM))
BRAKE MASTER CYLINDER & VACUUM HOSE (03/03)
([5851] усилитель тормозов)([5896] ESP(ELECTRONIC STABILITY PRM))
BRAKE MASTER CYLINDER & VACUUM HOSE (01/03)
([5851] усилитель тормозов)([5891] ABS)
BRAKE MASTER CYLINDER & VACUUM HOSE (02/03)
([5851] усилитель тормозов)([5891] ABS)
BRAKE MASTER CYLINDER & VACUUM HOSE (03/03)
([5851] усилитель тормозов)([5891] ABS)
BRAKE MASTER CYLINDER & VACUUM HOSE (01/03)
([5851] усилитель тормозов)([5896] ESP(ELECTRONIC STABILITY PRM))
BRAKE MASTER CYLINDER & VACUUM HOSE (02/03)
([5851] усилитель тормозов)([5896] ESP(ELECTRONIC STABILITY PRM))
BRAKE MASTER CYLINDER & VACUUM HOSE (03/03)
([5851] усилитель тормозов)([5896] ESP(ELECTRONIC STABILITY PRM))
Управление сцеплением и тормозами (01/02)
(Рабочий объем двигателя: 2000 CC)
Управление сцеплением и тормозами (02/02)
(Рабочий объем двигателя: 2000 CC)
|
- OPTIMA/MAGENTIS 05: -SEP.2006 (2005-2006)
|
|
|
ENGINE CONTROL SYSTEM (01/04)
ENGINE CONTROL SYSTEM (02/04)
ENGINE CONTROL SYSTEM (03/04)
ENGINE CONTROL SYSTEM (04/04)
CLUTCH & RELEASE FORK - MANUAL
(АКП: MANUAL T/M - 5 SPEED 2WD)
BRAKE MASTER CYLINDER & VACUUM HOSE (01/06)
BRAKE MASTER CYLINDER & VACUUM HOSE (02/06)
BRAKE MASTER CYLINDER & VACUUM HOSE (03/06)
BRAKE MASTER CYLINDER & VACUUM HOSE (04/06)
BRAKE MASTER CYLINDER & VACUUM HOSE (05/06)
BRAKE MASTER CYLINDER & VACUUM HOSE (06/06)
|
- OPTIMA/MAGENTIS 05: SEP.2006- (2006-)
|
|
|
ENGINE CONTROL SYSTEM (01/04)
ENGINE CONTROL SYSTEM (02/04)
ENGINE CONTROL SYSTEM (03/04)
ENGINE CONTROL SYSTEM (04/04)
CLUTCH & RELEASE FORK - MANUAL
(АКП: MANUAL T/M - 5 SPEED 2WD)
BRAKE MASTER CYLINDER & VACUUM HOSE (01/02)
BRAKE MASTER CYLINDER & VACUUM HOSE (02/02)
|
- OPTIMA/MAGENTIS 09 (2009-)
|
|
|
Главный цилиндр гидропривода сцепления
Главный тормозной цилиндр (01/02)
(Двигатель: MPI-SOHC)
Главный тормозной цилиндр (02/02)
(Двигатель: MPI-SOHC)
Главный тормозной цилиндр (01/02)
(Двигатель: TCI DOHC)
Главный тормозной цилиндр (02/02)
(Двигатель: TCI DOHC)
|
- PICANTO 04: -SEP.2006 (2004-2006)
|
|
|
Главный тормозной цилиндр (02/04)
Главный тормозной цилиндр (03/04)
Главный тормозной цилиндр (04/04)
Главный цилиндр гидропривода сцепления (01/02)
Главный цилиндр гидропривода сцепления (02/02)
Главный тормозной цилиндр (01/04)
|
- PICANTO 04: SEP.2006- (2006-)
|
|
|
Главный цилиндр гидропривода сцепления (01/02)
Главный цилиндр гидропривода сцепления (02/02)
Главный тормозной цилиндр (01/04)
Главный тормозной цилиндр (02/04)
Главный тормозной цилиндр (03/04)
Главный тормозной цилиндр (04/04)
|
|
|
|
BRAKE MASTER CYLINDER & BOOSTER
|
|
|
|
Вилка выключения сцепления (01/02)
Вилка выключения сцепления (02/02)
усилитель тормозов
|
|
|
|
BRAKE MASTER CYLINDER & BOOSTER (01/02)
BRAKE MASTER CYLINDER & BOOSTER (02/02)
|
- SANTA FE 06: -SEP.2006 (2006-)
|
|
|
SHIFT LEVER CONTROL (MANUAL TRANSAXLE)
BRAKE MASTER CYLINDER & BOOSTER (01/02)
BRAKE MASTER CYLINDER & BOOSTER (02/02)
|
- SANTA FE 06: SEP.2006- (2006-)
|
|
|
BRAKE MASTER CYLINDER & BOOSTER (01/02)
BRAKE MASTER CYLINDER & BOOSTER (02/02)
|
|
|
|
педаль тормоза и сцепления (01/04)
педаль тормоза и сцепления (02/04)
педаль тормоза и сцепления (03/04)
педаль тормоза и сцепления (04/04)
SHIFT LEVER CONTROL (MANUAL TRANSAXLE) (01/02)
SHIFT LEVER CONTROL (MANUAL TRANSAXLE) (02/02)
BRAKE MASTER CYLINDER & BOOSTER (01/02)
BRAKE MASTER CYLINDER & BOOSTER (02/02)
|
|
|
|
Усилитель тормозов
|
- SANTRO 99(INDIA PLANT-EUR) (2003-2005)
|
|
|
Привод управления подачей топлива
Вилка выключения сцепления, MT
Главный цилиндр гидропривода сцепления, MT
Усилитель тормозов
|
|
|
|
Привод управления подачей топлива
Вилка выключения сцепления, MT
Главный цилиндр гидропривода сцепления, MT (01/02)
Главный цилиндр гидропривода сцепления, MT (02/02)
Усилитель тормозов
|
- SONATA 02 (RUSSIA) (2004-)
|
|
|
Усилитель тормозов (01/02)
Усилитель тормозов (02/02)
Управление сцеплением и тормозами (01/02)
Управление сцеплением и тормозами (02/02)
|
- SONATA 04: -SEP.2006 (2004-)
|
|
|
Главный цилиндр гидропривода сцепления (01/03)
Главный цилиндр гидропривода сцепления (02/03)
Главный цилиндр гидропривода сцепления (03/03)
Усилитель тормозов (01/02)
Усилитель тормозов (02/02)
|
- SONATA 04: SEP.2006- (2004-)
|
|
|
Усилитель тормозов (02/02)
Главный цилиндр гидропривода сцепления (01/02)
Главный цилиндр гидропривода сцепления (02/02)
Усилитель тормозов (01/02)
|
|
|
|
педаль тормоза и сцепления (01/02)
педаль тормоза и сцепления (02/02)
BRAKE MASTER CYLINDER & BOOSTER (01/02)
BRAKE MASTER CYLINDER & BOOSTER (02/02)
|
|
|
|
Вилка выключения сцепления
Главный цилиндр гидропривода сцепления, MT
Усилитель тормозов
|
|
|
|
педаль тормоза и сцепления (01/02)
педаль тормоза и сцепления (02/02)
|
- SONATA/I45 10 (2010-2014)
|
|
|
Управление сцеплением и тормозами (02/04)
Управление сцеплением и тормозами (03/04)
Управление сцеплением и тормозами (04/04)
Привод переключения передач
(Трансмиссия: 5 SPEED AT 4WD)
Управление сцеплением и тормозами (01/04)
|
|
|
|
Управление сцеплением и тормозами (01/04)
Управление сцеплением и тормозами (02/04)
Управление сцеплением и тормозами (03/04)
Управление сцеплением и тормозами (04/04)
Привод переключения передач
(Трансмиссия: 5 SPEED AT 4WD)
Главный тормозной цилиндр (01/02)
Главный тормозной цилиндр (02/02)
Главный тормозной цилиндр (01/02)
([5891] ABS)
Главный тормозной цилиндр (02/02)
([5891] ABS)
Главный тормозной цилиндр (01/02)
([5896] ESP(ELECTRONIC STABILITY PRM))
Главный тормозной цилиндр (02/02)
([5896] ESP(ELECTRONIC STABILITY PRM))
|
- SORENTO 06: -SEP.2006 (2006-2006)
|
|
|
ENGINE CONTROL SYSTEM (01/05)
ENGINE CONTROL SYSTEM (02/05)
ENGINE CONTROL SYSTEM (03/05)
ENGINE CONTROL SYSTEM (04/05)
ENGINE CONTROL SYSTEM (05/05)
SHIFT LEVER CONTROL (AUTOMATIC TRANSAXLE)
Главный тормозной цилиндр (01/02)
Главный тормозной цилиндр (02/02)
|
- SORENTO 06: SEP.2006- (2006-)
|
|
|
педаль тормоза и сцепления (01/02)
педаль тормоза и сцепления (02/02)
SHIFT LEVER CONTROL (MANUAL TRANSAXLE)
|
|
|
|
Главный цилиндр гидропривода сцепления
BRAKE MASTER CYLINDER & BOOSTER (01/02)
BRAKE MASTER CYLINDER & BOOSTER (02/02)
|
|
|
|
Главный цилиндр гидропривода сцепления
BRAKE MASTER CYLINDER & BOOSTER (01/02)
BRAKE MASTER CYLINDER & BOOSTER (02/02)
|
|
|
|
CLUTCH MASTER CYLINDER (MANUAL TRANSAXLE) (01/02)
CLUTCH MASTER CYLINDER (MANUAL TRANSAXLE) (02/02)
BRAKE MASTER CYLINDER & BOOSTER (01/02)
BRAKE MASTER CYLINDER & BOOSTER (02/02)
|
|
|
|
Вилка выключения сцепления
(Рабочий объем двигателя: 2000 CC)(Двигатель: MPI-DOHC)
Вилка выключения сцепления
(Рабочий объем двигателя: 2000 CC)(Двигатель: T/C INTER COOLER)
Управление сцеплением (01/02)
Управление сцеплением (02/02)
Управление сцеплением
([0720] VGT ENGINE)
усилитель тормозов
|
- SPORTAGE 04: -SEP.2006 (2004-2006)
|
|
|
ENGINE CONTROL SYSTEM (01/06)
ENGINE CONTROL SYSTEM (02/06)
ENGINE CONTROL SYSTEM (03/06)
ENGINE CONTROL SYSTEM (04/06)
ENGINE CONTROL SYSTEM (05/06)
ENGINE CONTROL SYSTEM (06/06)
CLUTCH & RELEASE FORK - MANUAL
(АКП: MANUAL T/M - 5 SPEED 2WD)
CLUTCH & RELEASE FORK - MANUAL
(АКП: MANUAL T/M - 5 SPEED 4WD)
Главный цилиндр гидропривода сцепления (01/06)
Главный цилиндр гидропривода сцепления (02/06)
Главный цилиндр гидропривода сцепления (03/06)
Главный цилиндр гидропривода сцепления (04/06)
Главный цилиндр гидропривода сцепления (05/06)
Главный цилиндр гидропривода сцепления (06/06)
BRAKE MASTER CYLINDER & BOOSTER
|
- SPORTAGE 04: SEP.2006- (2006-)
|
|
|
ENGINE CONTROL SYSTEM (01/06)
ENGINE CONTROL SYSTEM (02/06)
ENGINE CONTROL SYSTEM (03/06)
ENGINE CONTROL SYSTEM (04/06)
ENGINE CONTROL SYSTEM (05/06)
ENGINE CONTROL SYSTEM (06/06)
CLUTCH & RELEASE FORK - MANUAL
(АКП: MANUAL T/M - 5 SPEED 2WD)
CLUTCH & RELEASE FORK - MANUAL
(АКП: MANUAL T/M - 5 SPEED 4WD)
Главный цилиндр гидропривода сцепления (01/03)
Главный цилиндр гидропривода сцепления (02/03)
Главный цилиндр гидропривода сцепления (03/03)
BRAKE MASTER CYLINDER & BOOSTER
|
- SPORTAGE 07 (SLOVAKIA PLANT-EUR) (2007-)
|
|
|
педаль тормоза и сцепления (01/03)
педаль тормоза и сцепления (02/03)
педаль тормоза и сцепления (03/03)
Вилка выключения сцепления-MANUAL
(АКП: MANUAL T/M - 5 SPEED 2WD)
Вилка выключения сцепления-MANUAL
(АКП: MANUAL T/M - 5 SPEED 4WD)
BRAKE MASTER CYLINDER & BOOSTER (01/02)
BRAKE MASTER CYLINDER & BOOSTER (02/02)
|
|
|
|
BRAKE MASTER CYLINDER & BOOSTER (01/02)
BRAKE MASTER CYLINDER & BOOSTER (02/02)
педаль тормоза и сцепления (01/04)
педаль тормоза и сцепления (02/04)
педаль тормоза и сцепления (03/04)
педаль тормоза и сцепления (04/04)
Вилка выключения сцепления-MANUAL
(Рабочий объем двигателя: 2000 CC - THETA 2)
|
- SPORTAGE 10 (SLOVAKIA-EUR) (2010-2014)
|
|
|
педаль тормоза и сцепления (01/02)
педаль тормоза и сцепления (02/02)
BRAKE MASTER CYLINDER & BOOSTER (01/02)
BRAKE MASTER CYLINDER & BOOSTER (02/02)
|
|
|
|
педаль тормоза и сцепления (01/02)
педаль тормоза и сцепления (02/02)
|
- SPORTAGE 14 (SLOVAKIA-EUR) (2014-)
|
|
|
Привод управления подачей топлива (01/02)
Привод управления подачей топлива (02/02)
Усилитель тормозов
|
|
|
|
Вилка выключения сцепления, MT
Главный цилиндр гидропривода сцепления, MT
Усилитель тормозов
|
- TRAJET 04: -OCT.2006 (2000-)
|
|
|
CLUTCH & RELEASE FORK - MANUAL
(Рабочий объем двигателя: 2000 CC - BETA)
CLUTCH & RELEASE FORK - MANUAL
(Рабочий объем двигателя: 2700 CC - DELTA)
Главный цилиндр гидропривода сцепления
Усилитель тормозов
|
- TRAJET 04: NOV.2006- (2004-)
|
|
|
Вилка выключения сцепления (01/03)
Вилка выключения сцепления (02/03)
Вилка выключения сцепления (03/03)
Главный цилиндр гидропривода сцепления, MT (01/06)
Главный цилиндр гидропривода сцепления, MT (02/06)
Главный цилиндр гидропривода сцепления, MT (03/06)
Главный цилиндр гидропривода сцепления, MT (04/06)
Главный цилиндр гидропривода сцепления, MT (05/06)
Главный цилиндр гидропривода сцепления, MT (06/06)
усилитель тормозов
|
- TUCSON 04: -OCT.2006 (2004-)
|
|
|
CLUTCH & RELEASE FORK - MANUAL
(АКП: MANUAL T/M - 5 SPEED 2WD)
CLUTCH & RELEASE FORK - MANUAL
(АКП: MANUAL T/M - 5 SPEED 4WD)
Главный цилиндр гидропривода сцепления (01/02)
Главный цилиндр гидропривода сцепления (02/02)
Усилитель тормозов
|
- TUCSON 04: NOV.2006- (2004-)
|
|
|
педаль тормоза и сцепления (01/02)
педаль тормоза и сцепления (02/02)
|
|
|
|
педаль тормоза и сцепления (01/02)
педаль тормоза и сцепления (02/02)
|
|
|